产品中心

Product Center

释压阀组合
1.用途:
本释压阀用于地面或井下空气压缩机系统中,安装在风包出口管路正对气流方向上,起安全保护作用。
2.适用条件:
各种规格的释压阀适用条件如下: 表1
型号
工作压力(Pa)
环境温度(℃)
适用的空压机容量(m3/min)
QHF-50
0.785×105(8kgf/cm2)
-40~120
1.5
QHF-65
0.785×105(8kgf/cm2)
-40~120
3
QHF-80
0.785×105(8kgf/cm2)
-40~120
6
QHF-100
0.785×105(8kgf/cm2)
-40~120
10
QHF-125
0.785×105(8kgf/cm2)
-40~120
20
QHF-150
0.785×105(8kgf/cm2)
-40~120
40
QHF-200
0.785×105(8kgf/cm2)
-40~120
60
QHF-250
0.785×105(8kgf/cm2)
-40~120
100
 
3.规格与性能: 表2
型号
工作压力(Pa)
释放压力(Pa)
重量(kg)
气缸内径(mm)
外形尺寸(mm)
连接法兰螺孔分布园直径(mm)
QHF-50
0.785(8kgf/cm2)
1.05±0.049(10.5±0.5kgf/cm2)
7
50
φ160×245
125
QHF-65
10
65
φ180×290
145
QHF-80
12
80
φ195×320
160
QHF-100
16
100
φ215×364
180
QHF-125
21
125
φ245×404
210
QHF-150
32
150
φ280×454
240
QHF-200
46
200
φ335×546
295
QHF-250
64
250
φ390×613
350
 
4.工作原理与结构特征:

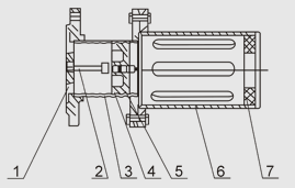
  本释压阀由气缸、活塞组、保护罩等组成(见图1)、气缸由左、右端法兰及气缸体组焊而成,为了增强耐磨性和防止生锈,气缸内表面镀硬铬。活塞组由卡板、O形密封圈、活塞、拉杆等组成。活塞组可从气缸左端装入并通过卡板对将活塞组固定在气缸中,使之无法左右移动。保护罩由法兰、简体和挡盖组焊而成。当释压阀释压时,保护罩可防止活塞飞出伤人,起安全保护作用。
本释压阀安装在空气压缩机系统中风包出口管路正对气流方向上,当空压机系统正常工作时,系统压力≤0.785(8kgf/cm2 ),在此压力下,释对阀正常工作。当风包因积炭着火或由于某种原因导致风包内气体爆炸时,系统内温度、压力瞬时升高,当压力升至1.03±0.049MPa(10.5±0.5kgf/cm2)时,拉杆立即拉断,释压阀释压,风 包及管路中的高温、高压气体得以迅速释放,从而起到缓解爆炸冲击波,避免产生
事故的作用。

  1、卡板
2、拉杆
3、气缸
4、活塞
5、O形密封圈
6、保护罩
7、缓冲垫


5.安装与调整:

5.1 释压阀安装于空气压缩机系统中风包出口管路正对气流向上,距风包出口为3-4米。释压阀与风包间须安装闸阀。空气压缩机风包水平放置安装时如图2,空气压缩机风包立式安装如图3。


释压阀安装时应注意以下几点:
5.1.1 释压阀释压方向不要向正对行人,设备及易损物件,防止释压阀释压时造成事故。
5.1.2 释压阀活塞组在气缸中的松紧程度应适当,应不漏气。活塞组的轴向拉力应符合表3规定:

规格
活塞组的轴向拉力(kgf)
QHF-50
≤65
QHF-65
≤108
QHF-80
≤166
QHF-100
≤255
QHF-125
≤402
QHF-150
≤569
QHF-200
≤1020
QHF-250
≤1589
 
5.1.3 安装前检查拉杆,不应有锈蚀,变形现象。
5.1.4 安装时,O形密封圈涂上防腐油。
5.2 释压阀调整:
5.2.1 释压阀安装好以后,应检查气缸活塞、法兰连接处、管路等,不应有漏气现象。
5.2.2 释压阀缸体和保护罩应同心,保护罩内孔不应有毛刺、飞边、脏物等,以免影响释压阀正常工作。
5.2.3 保护罩上的六个长园排气孔不应堵塞,以保持流通面积大于二倍活塞面积。
6.使用与维护:
6.1 正常工作时,空气压缩机系统压力不应超过7.84×105Pa(8kgf/cm2)
6.2 经常用检查释硬度阀气缸、活塞、法兰连接处及管路,不应有漏气现象,各紧固部分不应松动。
6.3 应固定专人定期进行检查、维护。释压阀正常工作时,每月至少检查一次,检查拉杆延细、锈蚀的情况,检查O形密封圈的弹性及密封情况。原则上每六个月更换一次拉杆,如遇特殊情况,如释压,严重锈蚀或明显延细等。应及时更换。
上一个:风包释压阀
下一个:释压阀
返回>>

© 乐清市风力机械有限公司   浙ICP备09009271号-2   XML   网站地图   


微信
咨询

微信二维码微信二维码

客服
热线

15381519000
客服热线